香港e特快到廣東省內時效參考
香港e特快到廣東省內時效怎樣呢?
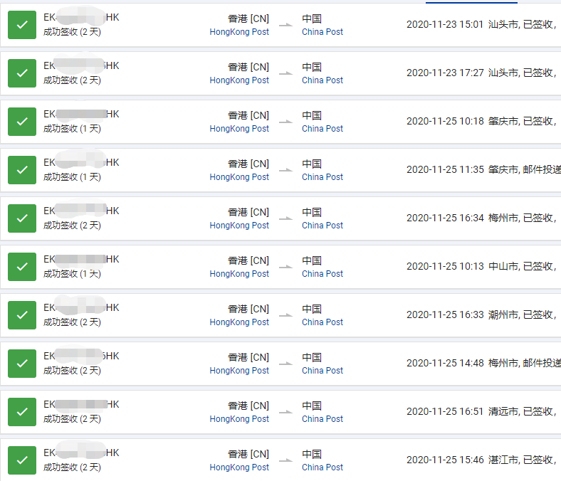
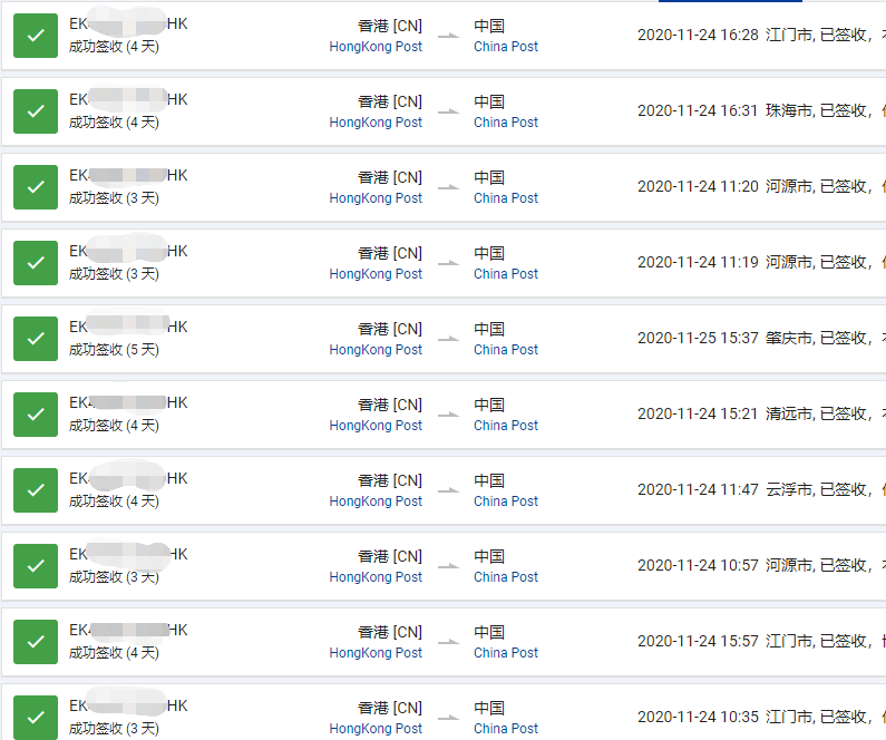
下圖是香港直郵廣東省內各地的時效,最新簽收的,大家可以參考一下。
香港到廣東省內各地整體時效都還正常,都在合理時間范圍內,直郵體驗還是可以的。
以下數據是基于紅旗速運的發貨數據,可以參考,但不代表整個渠道所有貨物都一樣時效。紅旗速運努力提升服務,盡量減少不必要的時間浪費,給大家相對更快的直郵體驗。






上圖的簽收時效24和25號,都是最新簽收的,都是最近的包裹時效,香港e特快順不順,快不快,大體都能看出來了
紅旗速運專注香港e特快,為大家提供更加專業的香港e特快直郵服務。可以為同行物流,快遞,集運,收貨點,藥房,化妝品專柜,電商等提供批量查詢服務支持。同時高效查詢服務也為每個客戶提供異常通知服務,盡量減少因異常問題造成的時效耽誤。
更多相關信息可以關注紅旗速運官網和公眾號,也可以百度和google搜索香港e特快或者紅旗速運了解更多信息。

香港算得上是海淘界的明珠,免稅、航班資源暴擊高效,全球好貨都
郵寄清單: 1.臘味家族:臘魚、臘肉、臘腸,煙熏麻辣味統統過
郵寄要求:新手表、單獨包裝、憑證齊全 郵寄手表必須滿足三
無論你在哪個國家網站下單,衣服鞋子、美妝護膚、保健品零食,甚
今天我們來聊聊e特快渠道,香港郵寄回內地,收件人到底要注意點